虽然VR虚拟现实行业主要关注HTC、Oculus和索尼三巨头的动作,但大家一直也没忘潜在的第四巨头——苹果。据uploadvr报道,苹果今日又拿下一项新专利;头戴式显示装置(HMD),用于容纳带显示屏的电子设备。
(原标题:苹果通过新专利:兼容iPhone的无线VR头显 | VR虚拟现实)
虽然VR虚拟现实行业主要关注HTC、Oculus和索尼三巨头的动作,但大家一直也没忘潜在的第四巨头——苹果。据uploadvr报道,苹果今日又拿下一项新专利;头戴式显示装置(HMD),用于容纳带显示屏的电子设备。

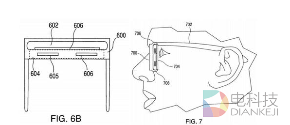
该专利列出一个头戴显示设备,能够与苹果智能手机“配对”,以便查看手机屏幕上的特定图像。所提出的HMD将包含内置耳机,连接两台设备的闪电接口,像眼镜的外形,以及定制镜片。
很快就察觉到苹果这项新发明与三星Gear VR有些相似。两者均不同于谷歌其他移动HMD,比如谷歌Cardboard及其海外翻版,而是通过物理接口让手机和设备直接连接。根据专利规格部分的措辞,这项配对能力是苹果有意要保护的主要IP。

这项专利的通过意义可能并没有它起初看来那么重要,事实上,2008年苹果就已经提交申请文件,直到今天才通过。像苹果这种拥有庞大研发部门的公司,概念和原型生产远快过对其进行检查或实施。因为有些滞后的官僚主义,所以苹果要为坚实IP早作准备,它也许会为实际生产创新性不大的发明提前申请专利,至少短期内是这样。
这并不是说我们就永远看不到这个HMD或类似东西上架商店,而是更有趣的启发是,这项专利证实,苹果确实在积极打造某种VR系统。而且,该设备似乎还会与iPhone紧密合作。这对一家积极参与推动智能手机市场的公司而言,有很大意义。苹果对AR的潜力也很有信心。
这项专利只是苹果公司复杂内部成果的一瞥,但它足以让VR爱好者嗨起来,也许有一天,我们会戴着一台钢制的只有一个按键的VR虚拟现实头显。
声明:本站原创文章文字版权归电科技所有,转载务必注明作者和出处;本站转载文章仅仅代表原作者观点,不代表电科技立场,图文版权归原作者所有。如有侵权,请联系我们删除。
分享到:
评论区(0)