VR游戏在游戏市场大行其道,目前索尼已经推出了PS VR,PC方面的HTC VIVE和Oculus Rift也拥有相当规模的用户,那么任天堂即将在明年推出的新
|
VR游戏在游戏市场大行其道,目前索尼已经推出了PS VR,PC方面的HTC VIVE和Oculus Rift也拥有相当规模的用户,那么任天堂即将在明年推出的新主机Switch如何呢?
虽然此前任天堂官方对于VR一直没有明确表态,不过来自美国专利及商标局的最新文件显示,任天堂Switch也将支持VR!
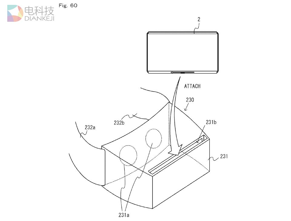
美国专利及商标局注册文件的信息显示,任天堂将采用类似谷歌和三星的智能手机VR解决方案,即将Switch游戏机的显示屏部分插入专用的头戴设备中,通过内部的两个透镜展现出VR的3D空间效果。
然而,业界一直猜测任天堂Switch附带的屏幕分辨率不会超过720P,而这样分辨率的屏幕在VR模式下的显示效果相对较差。
目前还不清楚Switch主机是否配备加速度计和重力感应计,这两种组件用于VR模式下的头部追踪。如果Switch没有配备上述组件的话,估计这个头戴设备中将包含上述功能。
任天堂将于明年1月12日公布Switch的详细情报。
|
声明:本站原创文章文字版权归电科技所有,转载务必注明作者和出处;本站转载文章仅仅代表原作者观点,不代表电科技立场,图文版权归原作者所有。如有侵权,请联系我们删除。
分享到:

评论区(0)