距离HoloLens的发布已经3年了,第一代HoloLens虽然为大家开启了一扇通向新世界的大门,但是依然存在着很多大家吐槽已久的缺点。去年4月微软Build 201
距离HoloLens的发布已经3年了,第一代HoloLens虽然为大家开启了一扇通向新世界的大门,但是依然存在着很多大家吐槽已久的缺点。去年4月微软Build 2018大会上宣布的HoloLens 2让人们看到了大家翘首以盼的HoloLens2离我们还有多远呢?

上周三,微软对媒体成员发送了即将于2月24日至27日在西班牙巴塞罗那举办的MWC 2019(世界移动大会)的邀请函,邀请函上最引人注目的,是本次大会微软会前发布会的主讲包括了HoloLens的发明者Alex Kipman。
此外微软也早已为HoloLens2的量产做好了准备。去年年底,HoloLens的开发者套件和商业套件先后在全美售罄,表明了微软很可能已经将原本HoloLens的产线用来量产HoloLens 2了。

这种种迹象意味着,终于要和大家见面了。关于HoloLens 2网上流传着各种说法,而微软也一直对HoloLens2的详细信息讳莫如深,87君结合了微软的官方消息和新专利,为大家总结了HoloLens 2与HoloLens不同之处。
CPU

HoloLens使用的是英特尔的Atom x5-Z8100P处理器,该处理器采用了14nm工艺与x64架构,拥有4个核心,主频为1.04GHz。较低的主频、仅仅4个核心使得HoloLens在性能上存在着比较明显的瓶颈。
而HoloLens 2极有可能会搭载ARM架构的处理器,不过具体的型号则众说纷纭,有消息报道称型号是高通的XR1,有的消息则称型号是骁龙850。

相比XR1这款主要针对Android系统的芯片,骁龙850可能会更适合HoloLens2。骁龙850是一款专门为PC移动平台设计的处理器,采用10nm工艺,主频为2.96GHz,拥有8个核心,基于Kryo385架构,并且会集成骁龙X20 LTE调制解调器。
X20基带可以支持5G网络,这意味着HoloLens 2将可以享受5G网络所带来的各种便利,摆脱了对WiFi依赖的HoloLens 2也终于能够胜任更多室外的应用场景了。

新的CPU在性能上有着较为明显的提升,但是虽然新CPU核心数量与主频提升了,功耗也变得更高了。骁龙850的功耗为5W,而Atom x5-Z8100P的功耗虽然没有官方数据,但按照同系列产品来估计的话应该在2W左右,新CPU功耗要稍高,可能会在续航方面给HoloLens2的设计带来一些难题。
HPU与GPU

HoloLens搭载了一款微软自行研发的强大HPU,使用了24个由台积电生产的28nm Tensilica DSP(Digital Signal Processing)数字信号处理核心,这些核心主要处理由各个传感器所接受到的数据。HoloLens所集成的这枚HPU拥有8MB SRAM和1GB LPDDR3 RAM,这枚芯片的功耗不足10w,但是却能进行出色的大数据运算,运算能力高达1 TFLOPS。

而在HoloLens 2上,微软将会采用新一代的HPU,除了可能在运算能力上有所提升,新的HPU将会配备AI协处理器,从而在本地实现深度神经网络(DNN),解决物体的识别问题。
作为HPU的一部分,HoloLens的GPU为微软定制,具体参数并未对外公布。而骁龙850的GPU为Adreno 630,主频为710MHz,在移动设备领域是一款性能较为出色的GPU。在图形性能上,HoloLens 2相比HoloLens应该有一个较大的飞跃,可以为用户带来更高分辨率、更好质量的画面效果。
显示技术

HoloLens最为用户诟病的地方就是其显示技术了,狭窄的视场角、十分明显的色散现象、较低的分辨率都难以令用户感到满意。此外受累于显示系统的大小,HoloLens机身重量达到了590克,戴在头上能够感受到明显的压迫感。
针对这些现存的问题。微软在这三年里积累了许多新的专利,有望使用在HoloLens 2上,以改善用户的体验。

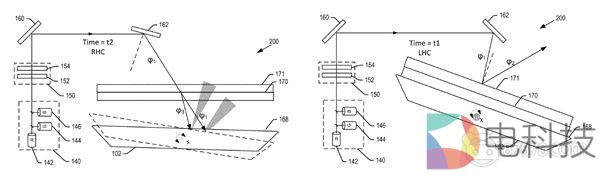
2016年4月,微软申请了一项名为“LENSLET NEAR-EYE DISPLAY DEVICE”的专利,这项专利可以在不增加显示器尺寸的情况下扩大FOV。

2018年6月,微软申请了一项名为“MEMS LASER SCANNER HAVING ENLARGED FOV”的专利,这是一项有关MEMS激光扫描仪的专利,可以在不增加扫描仪反射镜震荡范围的情况下扩展FOV。

2018年8月,微软提交了一项名为“AUGMENTED REALITY SYSTEM EYE RELIEF ADJUSTMENT MECHANISM”的专利。专利中描述了一种可以自动向前和向后移动目镜的机械装置,而且专利图中显示了一款比HoloLens更轻、更小的设备。

2019年1月,微软申请了名为“Compact Optical System With Mems Scanners for Image Generation and Object Tracking”的新专利,该专利可以通过一种更加紧凑的搭载MEMS扫描仪的光学系统来支持图像生成与物体追踪,大大减少显示系统的重量和成本。
这些专利表明,在HoloLens的后继产品上,微软将会重点改进FOV过小与设备过于沉重的问题,这些专利是否会被实际应用到HoloLens 2中,只有等待产品正式发布时才能知晓。
Kinect V4

HoloLens搭载的Kinect V3深度感知技术使HoloLens能够理解周围的人和环境,以注视点、手势和语音等方式进行输入,并以3D全息图和沉浸式空间音频的形式提供输出。
在Build 2018大会上,微软公布了将会用于HoloLens 2的下一代Kinect产品——Project Kinect For Azure,结合了微软最新的ToF(Time of Flight)深度传感器与新的AI算法。

新一代的Kinect具有1024×1024的分辨率,并搭载了一个能提高日光下性能表现的全局快门。此外,新系统的功率只有225-950mW,还增加了像自动每像素获得选择这样的功能,以实现更广泛的动态范围。这将使HoLoLens 2更好地捕捉远近物体。
相比上一代产品,Kinect V4最大的变化是对云端的支持。通过微软自身的Azure云服务,系统能获取更多的机载智能、更高效的人工智能,以及更有效的带宽使用和云端处理。HoloLens2与云服务将会紧密的结合在一起。
操作系统

HoloLens 2将会搭载微软自家的Windows 10操作系统的定制版。此前微软曾发布消息称,其Windows Core OS(WCOS)HoloLens版本的研发进度大大低于预期,可能会推迟到2020年上线,因此如果HoloLens 2如期在今年一季度发布,很可能会使用与HoloLens相同版本的系统。

Windows 10最近的更新中也增加了对于HoloLens2的支持,19H1版本中首次出现了HoloLens2的代号“Sydney”字段,意味着Windows 10对于HoloLens 2的支持部分或全部完工。
在Windows 10预览版Build 18298的SDK中,也有一个全新的操作系统命名:PRODUCT_HOLOGRAPHIC_BUSINESS,与PRODUCT_HOLOGRAPHIC并列,这意味着HoloLens 2可能拥有两个针对消费者与企业的不同系统。
售价

大家最关心的问题可能还要属HoloLens2的售价。HoloLens开发者套件售价为3000美元,企业套件售价为5000美元,如此高昂的价格主要是因为HoloLens高昂的研发成本与部分部件的价格,这也阻碍了HoloLens的普及。
微软已经意识到了如此高的价格限制了HoloLens的应用场景,已经在着手寻找更加廉价的解决方案。微软在显示技术上取得的新专利可以大幅度的降低显示这一块的硬件成本,如果HoloLens 2采用了专利中的新技术,我们将有望见到性能更强且价格更为低廉的新一代产品。
总结

计算性能全面提升,显示技术改进,更高的FOV,更精准的手势与物体识别,5G与云服务的加持,更轻便舒适的佩戴体验,更加低廉的价格,这样的HoloLens 2是否是你想要的呢?
如果HoloLens2能够拥有上述全部的改进,微软在MR眼镜领域就真的可以说是天下无敌了,一个能打的对手都没有。毕竟连HoloLens第一代产品,现在也只有Magic Leap能够一较高下。微软爸爸终究还是爸爸!
【87870原创文章】

评论区(0)