热门
【8点7分】HoloLens2预告片发布确认现身MWC,Oculus将重返E3舞台
HoloLens2预告片发布,2月24日MWC见! 微软正在为2月24日举办的MWC大力宣传,而刚刚发布的预告片则明确表示,HoloLens2将在那时与大家见面, 这部简短的
热门
HoloLens2预告片发布,2月24日MWC见! 微软正在为2月24日举办的MWC大力宣传,而刚刚发布的预告片则明确表示,HoloLens2将在那时与大家见面, 这部简短的
热门
标准机构万维网联盟(W3C)本周将互联网VR/AR又向前推进了一步:发布了规范草案。 WebXR设备API“描述支持在网络上用于访问虚拟现实(VR)和增强现实(AR)的
热门
来自Oculus联合创始人兼VR产品负责人Nate Mitchell 的一篇博文承诺在未来几个月内发布重大消息。 我们之前报道过Oculus产品代码中新出现的“Rift
热门
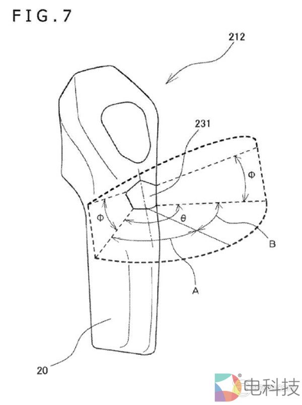
近日,荷兰网站LetsGoDigital曝光了华为的一项增强现实眼镜专利,最大的特色是能够在上面嵌入智能手表,以便随时调用屏幕和相机。 这款“超薄”的增强
热门
索尼传闻推出的新型PSVR控制器已经获得两项新专利,具有一些有趣的功能。 索尼在2018年1月公布的一项专利中首次出现了新的控制器。根据文件判断,他
热门
就在最近,Steam平台的“2018年度大奖”揭晓了。 和往年相比,2018年度Steam奖项的主题辨识度明显要清晰许多,基本不会出现“按照字面意思投票结果给
热门
移动应用发布商正在使用增强现实技术来解决日常测量问题,功能从测量物品的长度到预览家中的家具。 现在,看起来像检查行李箱尺寸的随身携带资格是增
热门
如果有一家公司是苹果iPhone设备上的TrueDepth相机的粉丝,那么它就是流行的眼镜零售商Warby Parker。 去年,该公司推出了使用原装iPhone X上的深度
热门
今天北京喜迎雪天,不少在北京上班的小伙伴表示终于不用云赏雪了,借着这场大雪瑞幸咖啡发布了首个AR创意小程序,在今天点了小蓝杯的用户可以打开lucki
热门
虽然Oculus Quest目前还没有公布具体的发布日期,但现在Oculus Quest及其Touch控制器都经过了FCC测试。 Oculus 在去年9月份透露了Quest的相关消息,