VR列表
苹果通过新专利:兼容iPhone的无线VR头显 热门
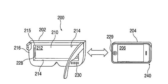
苹果通过新专利:兼容iPhone的无线VR头显

虽然VR虚拟现实行业主要关注HTC、Oculus和索尼三巨头的动作,但大家一直也没忘潜在的第四巨头——苹果。据uploadvr报道,苹果今日又拿下一项新专利;头戴式显示装置(HMD),用于容纳带显示屏的电子设备。

联想入局谷歌Daydream平台 或将推VR头显 热门
联想入局谷歌Daydream平台 或将推VR头显

北京时间9月1日凌晨消息,今年春季谷歌在I/O开发者大会上发布了Daydream(白日梦)平台,该项目的目标是建立 “中央控制中心”(VR生态链),为移动VR设备用户专门定制视频内容、游戏等应用,谷歌请来YouTube及其他VR内容制作团队,更是与Hulu、HBO、Ubisoft、MLB、NBA等合作商共同打造Daydream内容平台。其中合作伙伴还包括三星、HTC、LG、ZTE、华为、小米、阿尔卡特及华硕等。

Touch再引质疑 价格成关键 Rift或完败于Vive 热门
Touch再引质疑 价格成关键 Rift或完败于Vive

自从4月份以来,相比以前,Oculus Rift的“圣光”色彩已逐渐被HTC Vive拂去了不少。无论是在产品体验上还是价格上,HTC Vive似乎已经是Oculus Rift近期迈不过去的槛。

VR AR技术的发展将推动视听AV行业的变革 热门
VR AR技术的发展将推动视听AV行业的变革

9月1日消息,虚拟现实(VR)与增强现实(AR)技术正获得越来越多的关注,这种宣传效应有助于将它们变成有意义的视听项目(AV)吗?对此,保罗·米利根(Paul Milligan)给出了自己的见解。

爆料 凌宇智控山寨HTC Vive定位追踪系统 热门
爆料 凌宇智控山寨HTC Vive定位追踪系统

就目前消费市场上所有的虚拟现实系统来看,HTC Vive的Lighthouse系统是公认目前最优秀的虚拟现实定位追踪系统。它的优秀也吸引不少团队铤而走险,直接再包装了“Lighthouse”系统。

苹果索尼上头条之战 VRAR会成当日两场发布会亮点吗? 热门
苹果索尼上头条之战 VRAR会成当日两场发布会亮点吗?

科技界大事天天有,九月特别多。这不,美国当地时间9月7日上午10点,苹果首席执行官蒂姆·库克将走进位于旧金山的比尔·格雷厄姆市政礼堂,向全世界发布新一代iPhone。而两个小时后,即差不多在苹果发布会结束之时,索尼也将在纽约PlayStation Theater举行PlayStation Meeting,据说将发布新一代主机PlayStation 4 Neo。

VR和电子商务要联姻 剁手党备好菜刀了吗? 热门
VR和电子商务要联姻 剁手党备好菜刀了吗?

8月31日消息,国外媒体撰文展望了VR商务的未来,文章指出VR技术有望融合实体零售和电子商务各自的优势,让购物体验获得进一步提升。前沿技术的进步让购物诱惑再升级,不知这对购物狂们是好消息还是坏消息。不过VR商务的萌芽和发展还需面临诸多挑战,例如,昂贵的硬件配备、实体店的资金投入以及市场需求。

玩家终于沉冤昭雪 Pokemon GO部分外挂解封 热门
玩家终于沉冤昭雪 Pokemon GO部分外挂解封

Niantic的CEO 约翰汉克说他们对那些使用了第三方工具的玩家进行了封号处理,这些第三方工具会显示精灵的位置,比如曾经很受欢迎的外挂PokéVision等。官方发现后立即关掉了与PokéVision的连接接口,并且在大约两周前封停了使用它的玩家。

拒作万年老二 AMD要依靠AR VR超越英特尔 热门
拒作万年老二 AMD要依靠AR VR超越英特尔

AR/VR对于AMD来说意味着什么?是机遇还是挑战?AMD的股价在去年7月曾经经历过40年以来的最低水平,如今的AMD凭借着AR/VR的春风迎头赶上。今天世界第二代处理器制造商AMD就VR如何让生活变得更加容易这个话题发表了一些看法。